آبل...نقل البيانات بين الأجهزة عبر التلامس
تسعى شركة آبل الأمريكية، إلى تطوير طريقة تسمح لأجهزتها المحمولة بنقل البيانات بين بعضها البعض عن طريق التلامس، وذلك على غرار ما توفره بعض الأجهزة، والخدمات في السوق.
ووفقًا لبراءة الاختراع، فإن آبل سوف تسمح بمشاركة البيانات بين أجهزة، مثل آيفون وآيباد، وذلك على نحو أكثر كفاءة وأمنًا. وتصف براءة الاختراع الأولى كيفية تمكين الأجهزة من اكتشاف بعضها البعض.
وتقول آبل في طلب براءة الاختراع الأولى: “مع استخدام الأجهزة الإلكترونية المحمولة مثل الهواتف الذكية، وأجهزة الحاسوب اللوحية، والأجهزة الذكية القابلة للارتداء، التي أصبح جزءًا لا غنى عنه من الحياة العصرية، فمن المتوقع أن يصبح التفاعل من جهاز إلى جهاز امتدادًا رقميًا سلسًا للاتصالات المخصصة بين الأشخاص”.
وأوضحت الشركة أنه يمكن للأجهزة بدء التشغيل باستخدام “بروتوكول اكتشاف وإقامة اتصال” للعثور على بعضها البعض بصورة آمنة، والاتصال ببعضها. ويمكنها بعد ذلك التبديل إلى نظام نطاق تردد أعلى لتبادل البيانات فعليًا.
وأشارت آبل إلى أن تقنيات تبادل البيانات بين الأجهزة تعتمد حاليًا على بروتوكول إقامة الاتصال القائم على تقنية (البلوتوث المنخفض الطاقة) BLE، ومع ذلك فإن هذا البروتوكول يعاني من بعض البطء في إقامة الاتصال.
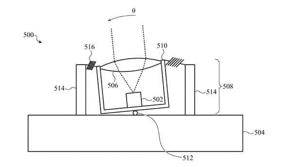
ويُعتقد أن الشركة تسعى إلى استخدام مستقبلات ومرسلات بصرية كبديل عن BLE، وهو ما أشارت إليه الشركة في براءة الاختراع الأخرى. إذ قالت: “يمكن أن يشتمل الجهاز الإلكتروني على نظام اتصالات بصرية في الفضاء الحر لنقل البيانات أو استقبالها أو تبادلها لاسلكيًا مع جهاز إلكتروني آخر”. وأضافت: “ومع ذلك، يعتمد نظام الاتصال البصري في الفضاء الحر الاتجاهي بصورة استثنائية على المحاذاة الدقيقة للأجهزة المتصلة”.
كما يُعتقد أن هاتين البراءتين تمثلان جزءًا من جهود آبل الواضحة للاستفادة من كيفية امتلاك المستخدمين أكثر من جهاز، خاصةً أن أحدث إصدار من هواتف آيفون 11، وآيفون 11 برو، وآيفون 11 برو ماكس، تحتوي جميعها رقاقة (آبل يو1) Apple U1 التي يُتوقع استخدامها لأغراض مماثلة.
وتستخدم رقاقة U1 تقنية Ultra-Wideband للإدراك المكاني، ومعرفة موقع الجهاز وتوجيهه، بالإضافة إلى مكان وجود الأجهزة الأخرى. وحتى الآن لا تُستخدم هذه القدرات إلا من قِبل شركة آبل لتحسين تقنية AirDrop.



